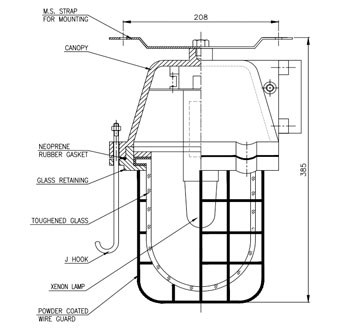
| RATNG | SUITABLE FOR 24V DC BEACON LIGHT FITTING WITH FLASHING TYPE |
| CONSTRUCTION | IN AL. ALLOY LM6 |
| GAS GROUP | IIC AS PER IS/IEC 60079-1:2014, Ex ‘d’ |
| ZONE | ZONE 1&2 |
| TEMP. CLASS | T5 |
| PDEG OF PROT. | IP: 66 AS PER IS/IEC 60529:2001 |
| CIMFR CERT. N0 | IN/CIMFR/TR21/R/H288 DTD. 11/10/2021. |
| PESO CERT. N0. | A/P/HQ/MH/104/6914 (P5200067) DTD. 02/11/2021. |
| BIS CERT. N0. | ENDORSEMENT NO. 132 DTD.14/07/2021. |
| EARTING 1NO. | INTERNAL & 2NOS. EXTERNALS |
| PAINT | EPOXY POWDER COATED LIGHT GREY SHADE 631 OF IS: 5 |
| TERMINAL | 2NOS. STUD TYPE TERMINALS (4/6sq.mm) |
| CABLE ENTRY | 2NOS. 1/2”NPT, WITHOUT CABLE GLANDS & WITHOUT PLUGS. |
| HARDWARE | M.S / S.S |